>蓝鲸体育直播>专业领域>专利案件>集佳成功代理南京光威公司赢得“板式太阳能集热器”发明专利侵权纠纷

集佳成功代理南京光威公司赢得“板式太阳能集热器”发明专利侵权纠纷
发布时间:2018-03-02

  集佳代理南京光威能源科技有限公司(以下简称“光威公司”)诉浙江煜腾新能源股份有限公司(以下简称“煜腾公司”)侵害发明专利权纠纷一案,经上海知识产权法院一审查明事实后,于2018年2月12日宣判:被告煜腾公司制造、销售、许诺销售的被控“板式太阳能集热器产品”落入涉案专利权的保护范围,被告在判决生效之日起停止侵害涉案发明专利权的行为,并全额支持了原告主张的侵权损害赔偿及合理开支。

  原告光威公司位于南京市江宁区归国博士创业园,由中科院“百人计划”专家、北京工业大学博士生导师赵耀华教授于2009年创建,是一家集太阳能利用、节能与高效换热技术的研发、生产、销售于一体的企业。光威公司以微孔阵列式平板热管为基础,开发出在太阳能光热系统、太阳能光伏散热、热电联供、高效换热器及节能技术等领域一系列发明专利技术与系列产品,具有完全自主知识产权,处于国际领先水平,并已逐步成为我国新一代太阳能热水器的领导品牌。

  发现侵权行为后,光威公司随即委托我所律师制定维权策略并付诸实施。本案于2017年5月18日由上海知识产权法院立案,集佳团队在侵权诉讼和专利无效程序中密切配合,分别历经庭前会议、公开开庭审理、专利无效意见陈述、专利无效口头审理、公开开庭宣判等程序后,一方面经专利复审委认定,维持了涉案专利权全部有效;另一方面,上海知产法院认定被告侵权事实成立,支持原告全部诉讼请求。

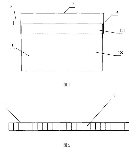
本专利附图1、2

原告专利产品截面图

被控侵权产品截面图

  在本案中,首先,集佳团队合理运用规则,对涉案专利的权利要求进行了唯一合理解释;其次,充分举证,在庭审进行侵权比对的同时,采用实验视频录制等方式,证明侵权行为的存在;而且,通过大量提供相关证据证明侵权获利巨大,同时原告已投入极高的维权成本。

▲同时采用实验视频录制的方式证明侵权行为

  随着我国专利侵权诉讼赔偿数额的逐步提升,未来竞争对手之间将会越来越多的采取专利战形式展开相互较量。这对专利律师提出了更高的要求和挑战,尤其是对于本案中的情形而言,一方拥有完全自主知识产权,而另一方却采取简单粗暴的方式实施侵权行为,本案判决给出了很好的启示,即在合理解释权利要求保护范围的基础上,与客户进行密切沟通和配合,深挖一切与案件相关的证据材料,从技术和法律两个角度,力求证明侵权行为的存在,同时侵权获益及维权支出的巨大。

浏览次数: 返回